Wrap your wolf in a fish skin
Are you keen to increase your capture rate - both on video as well as on your bait? Then drnapper’s Snack Attack Fish Skin sticker could do the trick for you and help you capture some amazing underwater trophy shots. Watch it for your self: the stickers were tested by one of the leading underwater angling cam operators and enticed some big pike in Ireland, Germany and Belgium so far. Who is next? Be quick - promo sale is on now.
Missed opportunities equal new chances
Just when drsnapper was about to give its mission of promoting hook-less trophy angling a research twang, the scheduled presentations at the VLIZ Marine Science Day and the World Recreational Fisheries Conference have been cancelled or postponed, because of the world’s most famous tiny particle that looks like a strawberry turned inside-out, and that passes on its genetic material in a parasitic, and for its host rather unpleasant manner. Anyway, taking any of of these missed opportunities, to develop a new momentum.
Photo credit: Coenraad Deputter
About Dr Snapper
Dr Snapper promotes a new approach to underwater observation, aquatic surveys, or even recreational catch-and-release fishing. It is a very simple idea and there is already technology out there that allows exactly that: the fish itself actively triggers the camera when attacking a hook-less bait. So to speak, the fish snaps a selfie by rigorously pulling on the bait (see top panel, graphic above), which then sets the camera to record a fixed video sequence. In an upcoming post I will talk about the different, possible trigger mechanisms in more detail. Ideally, via an app and automatic wifi transmission when surfaced, all video files can be (re)viewed instantly (see bottom panel, graphic above). Such a way of underwater observation may not only appeal to animal-welfare conscious recreational fishers, or a young gadget-keen generation of outdoor enthusiasts, but also to scientists wanting to non-invasively survey aquatic fauna. In that case: no fish are harmed, but still a great trophy shot!
Shark bay
At a rocky headland along the Mid-North Coast of New South Wales, I baited and deployed the drsnapper underwater camera trap (which is pretty much a BRUV – Baited Remote Underwater Video station with a mechanical trigger function). A wobbegong shark (Orectolobus spp., a species of carpet shark) seemed to show some interest in the bait odour (chopped mackerel) or at least it stayed about for a little while. I picked a pretty choppy day for it with a southerly blowing, so the drsnapper PVC frame contraption equipped with an underwater action camera (modified as prototype camera III) got moved around a fair bit. Although the bite of a wobbegong shark can be pretty nasty, it felt more like a pudel dog was circling around my legs than a shark.
Inside an ancient fish trap
On the Mid North Coast of New South Wales, I went for a snorkel inside an ancient fish trap and spotted some yellowfin bream (Acanthopagrus australis) and Stripeys (Microcanthus australis), amongst other fish.
Irish soaktime revisited
The camera trial in Ireland (see post “Irish soaktime”, August 2018) finished before it started with prototype II soaking up some brine. It got pickled at depth on the first deployment. Something I had expected though, given the water pressure at the weak spot (where the trigger cables run through the epoxy coat of the housing) that it would leak some water. To compensate for the loss, I got given some footage to feature here. These are underwater images from a GoPro showing the escape of some fish through a 300 mm, squaremesh netting panel inside an otter trawl. A little bit unrelated to promoting drsnapper’s hook-less fishing concept, but at least some decent underwater footage of fish. The fate of at least one escapee was not very lucky being munched upon by a vessel-following harbour seal. Image courtesy: Martin Oliver, Galway, Ireland.
Vegan fishing in Mundaka
Took the spydro for a spin to stunning Mundaka. Was pretty busy during the day, so spontaneously watered the camera at night. Scanning the footage reminds me of these postcards at the cornershop - pitchblack picture with a title “Fishing - at night - Greetings from Blankenberge”. Similar thing here, just belief me the mullet actually ate the bread ball, they just shied away as soon as I turned the lights on. In any case, vegan fishing works - we (and the mullet) had a ball!
Dr Snapper tutorial
Gearing up for the field trial off the coast in Galway, Ireland. Some instructions on how to insert the battery, powering the camera on and seal the housing.
Off to the Emerald Isle
This week prototype I and II went for a hitch across the ditch to Galway, Ireland to ring in a field trial. More on it soon.
Shake it, fishy....
This is going to be my Easter holiday hack: to integrate an accelerometer chip (e.g. Wake on Shake board from SparkFun Electronics) inside the housing of an action cam, to trigger a video when the camera is being accelerated or in other words, ideally as soon as a fish pulls on the hook-less bait, the camera starts recording for a fixed period. CamDo Solutions published a really cool trigger option for a GoPro.....I reckon the same must be possible for an angling type underwater camera. The camera would need a wireless function to transfer files instantly. The tricky part fill be to fit everything into the casing and configure the wake and shake to the desired acceleration speed.
American beauty
Finally, the test tank is up and running. My new friend is still a little camera shy when the lights go on, but there is some interest in the bait bag. There is more to come....stay tuned.
Big Day Out
This was my Big Day Out. I was invited to present my concept idea of an actively triggered underwater camera trap to one of the leading fishing camera manufacturers in Europe. The trip was exciting and a bit of a The Yes Men moment by suggesting that hook-less angling with a camera trap may also tickle an angler's fancy. To cut a fun story short....my own enthusiasm was met with a listening ear, but also some doubts. Understandably, as I learned later on, because there is a camera forthcoming by some competition which offers exactly that functionality that I was proposing!!! Can't wait til that thing hits my doormat.
It works - first camera-trapped turbot ever???
After the "field" trials were a little difficult to say the least, blaming that bulky frame and picky fish, I went back to the lab, just to prove the concept. Still no award-winning footage, I admit, but at least the turbot (Scophthalmus maximus) do trigger short video sequences. They love a bait ball stuffed with fresh brown shrimps or cod chops. After their first greedy attacks, they become really wary though. All in all, the trigger worked well, and collected quite a few "trophy shots".
Thanks to Flanders Research Institute for Agriculture, Fisheries and Food! All turbot were held for a research project approved by the Flemish Animal Ethics Commission.
Trout spotting in Lapland
In August 2017, I paid a visit to a fish farm in Northern Sweden. I was hoping that rainbow trout (Oncorhynchus mykiss) would like to nibble on PhishPic's tasty bait ball. This time I rigged it with the Hugyfot Arius 1500 Divelight to turn on the spotlight. Check out the video below.
Turned out that rainbow trout were really camera shy. The bait ball filled to the brim with gooey pellet dough could not entice them at all. I know the whole rig still looks more like a BRUV (baited remote underwater video), but at least you can deploy it with a fishing rod. Liasing currently with a couple of talented engineers to realise my new, less bulky idea. So, watch this space in 2018. Happy New Idea!
About Dr Snapper
Dr Snapper promotes a new approach to underwater observation, aquatic surveys, or even recreational catch-and-release fishing. It is a very simple idea and there is already technology out there that allows exactly that: the fish itself actively triggers the camera when attacking a hook-less bait. So to speak, the fish snaps a selfie by rigorously pulling on the bait (see top panel, graphic above), which then sets the camera to record a fixed video sequence. Ideally, via an app and automatic wifi transmission when surfaced, all video files can be (re)viewed instantly (see bottom panel, graphic above). Such a way of underwater observation may not only appeal to animal-welfare conscious recreational fishers, or a young gadget-keen generation of outdoor enthusiasts, but also for scientists wanting to non-invasively survey aquatic fauna. In that case: no fish are harmed, but still a great trophy shot!
Mingling with fish-mad minds
First small "market study" a.k.a. spending a day with a good mate onboard a North Sea fishing charter - pretending to talk serious game. But our disguise got caught out quickly, when I pulled out that bulky white PVC frame with a camera mounted on top of it.
Field testing - prototype 1
Splashing about in some of the cleanest quarry ponds around. The trigger worked a treat and snapped some pics of a rare four-legged, goggle-eyed aquatic animal.
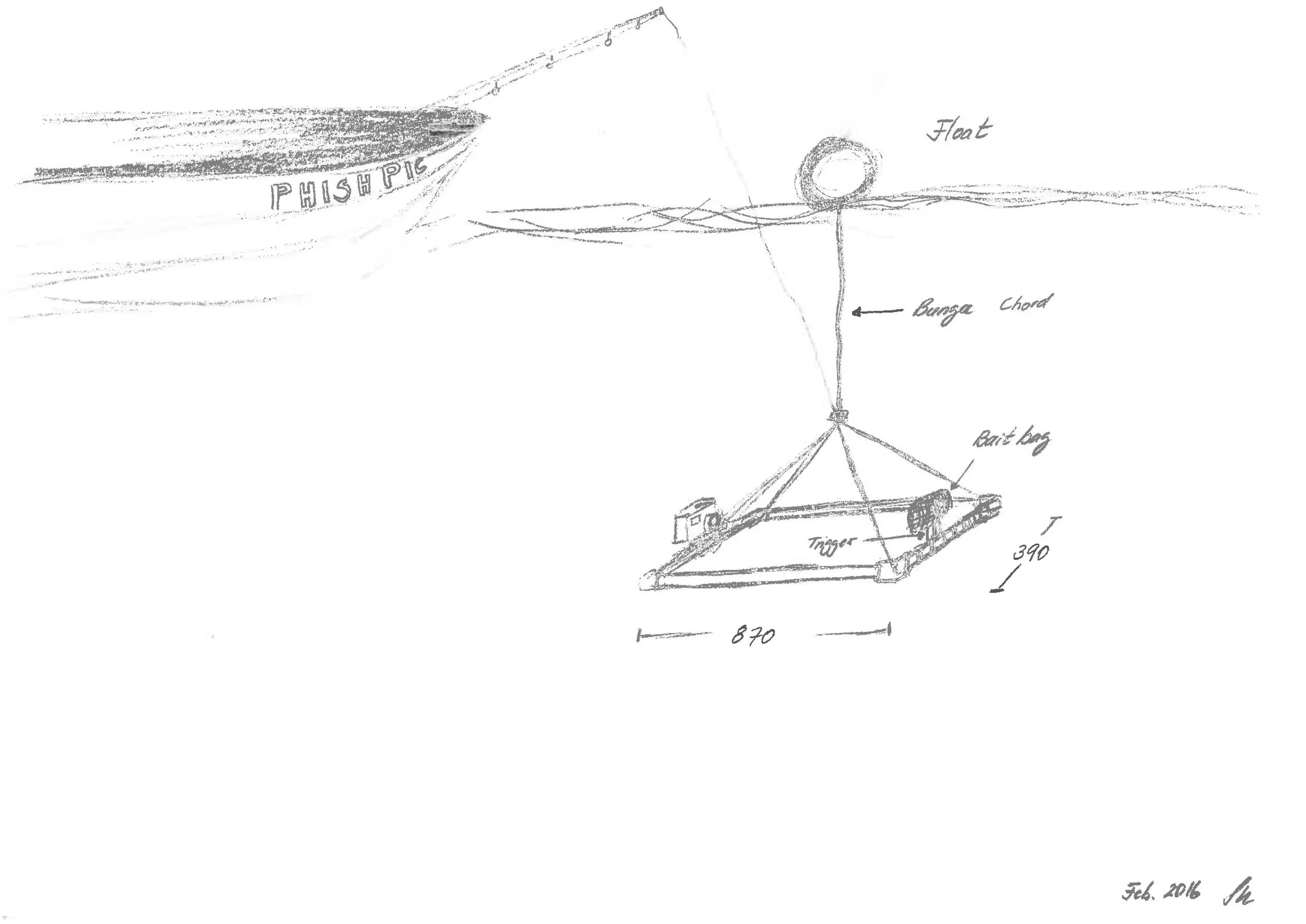
The early beginnings...
A drawing based on ideas and a very first pre-prototype (named PhishPic) field tested in Arrawarra/Red Rock, NSW in Nov. 2011. Admittedly, the design resembles more a portable baited remote under water video station (BRUV), but in case of PhisPic that can be actively triggered by an approaching organism. The thought to marry this concept with angling appealed as well. Back then, one of the few decent underwater fishing cams was the Aussie towcam (http://towcam.com.au/): a cam for big game trolling. But only allowing continuous video capture - which I considered to be not very user friendly and convenient.
Since then, a lot has happened, and while a number of fishing cams are now out there on the consumer market, only one of them (as far as I know) offers an active, camera-trap like trigger mechanism which is comparable to Dr Snapper's working prototype (keep an eye out on the next posts) or Dr Snapper's other concept ideas (also still to come, watch this space).
Back then, in 2011, when playing around with the PhishPic pre-prototype, I am dead sure I cleaned that blimmin o-ring of the SeaLife Mini-II camera, but that thing kissed me goodbye after its first underwater touch. First, the pics went red, then it was dead. Farewell, bubble, bubble....
The making off - prototype 1
Check out this video below on how to hack a Rollei S-50 Wifi actioncam. We have soldered two wires to the shutter release and then drilled holes through the casing to connect a waterproof cable. The holes and connectors were sealed up with epoxy resin. The trigger was made of a piece of copper tin with two super magnets glued onto it, and which was framed on either side by two reed contacts embedded in epoxy resin. By pulling the piece of tin towards either reed switch, the camera fires. To the eye on top of the tin, a bait can be attached with fishing line. Hand made in Germany, thanks to my "Chief engineer" Dietmar :)


